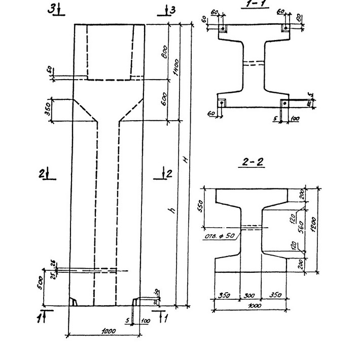
Блок-стакан верхний ВБ 9-12-57-1 предназначен для использования в строительстве железобетонных конструкций. Он обеспечивает надежное соединение элементов и обеспечивает необходимую прочность и устойчивость конструкции. Блок-стакан верхний ВБ 9-12-57-1 идеально подходит для строительства зданий, мостов, туннелей и других сооружений, где требуется высокая надежность и долговечность.









